位置:CC首码网 > 项目预警
荣裕合最新消息:荣裕合空壳公司大集合,国资背景?50亿实缴,震哥曝光真相
震哥 2025-07-21

兄弟们,最近荣裕合疯狂投诉震哥文章,有的阅读量才3个就投诉上来了,这是不是做贼心虚。接下来震哥来扒一下荣裕合的公司布局,看看什么国资背景,50亿实缴的公司是不是真的。
先来看看号称国资背景的深圳荣裕合数字信息有限公司,实际的社保人数才1个,妥妥的空壳公司,才一个员工。路边开个奶茶店都不止一个员工交社保,这个公司到底是就一个员工还是不给员工交社保呢,震哥提醒,企业不给员工交社保是违法的!

再来去查查他是不是真的国资公司,通过系统根本查不到这个公司是国企,很显然就是假的,荣裕合的上级公司中能华安实际上一个员工都没有,社保人数为0,这不就是空壳公司吗?还41条风险提示,你一个员工都没有的公司,怎么这么多风险,到底是做了什么伤天害理的事?



再来看看号称50亿实缴的公司,浙江珍稀葆生物科技有限公司,实际参保人数1人,妥妥的又是一个空壳公司。再说说50亿实缴怎么回事,这实缴一分钱都没看到,全是知识产权,最多花30万全部弄软著,包装一下就能搞定。震哥提醒,这就是全靠包装,实际这样操作有很大的风险。

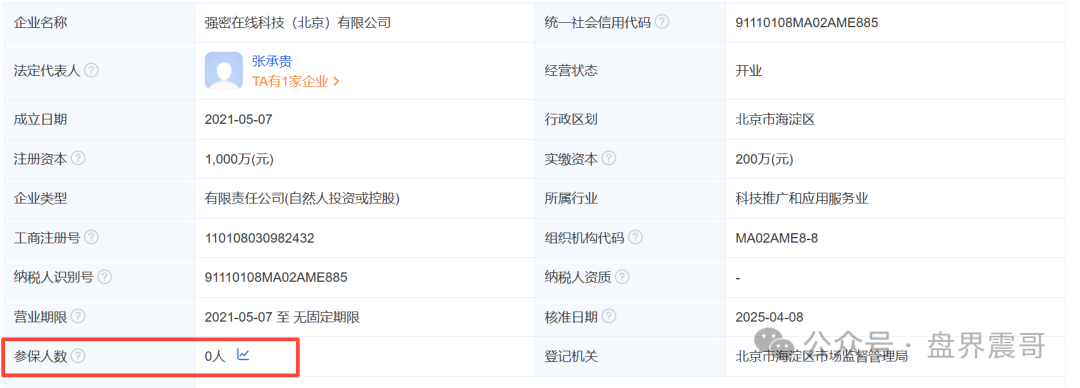
荣裕合持股的强密在线科技(北京)有限公司,参保人数还是0,意味着这公司一个人都没有,就是个空壳公司。

看看荣裕合(广东)控股有限公司,怎么有点不对劲,为什么这个公司的法人是张承贵,不是游优呢,游优是真名吗?怎么还和号称国资背景的法人练锦鸿不是一个名呢?这不是纯闹吗?社保人数都没有公布,估计又是0。又是空壳公司。

最后震哥提醒,如果你仍然觉得这是正规的,请拨打免费热线96110咨询,或者去当地公安局咨询,这才是最有利的证明,不然像鑫慷嘉一样,没崩盘之前都好好的,一下子就直接变天!!
以下内容为赞助商提供

网赚项目交流+骗局曝光群
扫码进群,获取今日项目最新消息
标签:荣裕合
相关推荐

荣裕合400万的账户,一折卖一个星期都没人收?怎么样维权呢?

盘讯:荣裕合不给会员提现,绝望之下喝农药,现已经住进ICU

荣裕合暴雷!震哥带你扒皮“大通币DTEX”二次收割套路

荣裕合还能提现吗?荣裕合无法提现,换新系统也无法提现,抓紧维权
HOT曝光:“米链国际”melink分红类资金盘,大量网推拉人入局,别去当韭菜!
粉丝爆料这几天一个叫米链国际melink的分红类资金盘骗局,是铺天盖地的宣传,号称自己是2026第一大盘,平台包装宣...
HOT紧急曝光:“维塔金 VITAKING”黄金资金盘已开始“单割”,跑路前兆已现,还在参与的速度撤离!
今天给大家曝光一个叫“维塔金VITAKING”的黄金资金盘项目,包装得特别高大上,不少粉丝后台反馈,提现不到账,被...
HOT恒睿集团(汇丰国际)彩票跟单类资金盘骗局,典型的一轮圈杀猪盘,已经开始单割,马上崩盘跑路!
最近不少之前GT国际和合利集团彩票的受害者联系昊天,爆料这伙诈骗团伙又搞了个平移重启盘叫恒睿集团(汇丰国际...
HOT临镜花:典型的跟单类资金盘骗局,警惕此类高收益平台,高度预警,速度撤离!
快到年底了,各类资金盘骗局也到了集中“收网”的高峰期,推出各种十分诱人的优惠政策层层敛财,为最终跑路铺...
加载中1个月前1.05w#临镜花
当“云数贸”披上AI外衣:“星河智云”新骗局深度揭秘与防骗指南
随着人工智能成为全球科技浪潮的焦点,一些不法分子也盯上了这块“金字招牌”。近期,一款名为“星河智云”的...
sngie昨天3.14K#星河智云
紧急预警!“盛康俱乐部”已亮红灯,“单割”行为是跑路前最后的疯狂收割
一场精心策划的骗局,在收网前总会露出它最狰狞的獠牙。近期,一个名为“盛康俱乐部(集富众盈”)的平台,正以“...
警惕“HKDR”骗局:假借“个税”敛财,实为洗钱杀猪盘
手机上“发现恶意应用”的红色警报与江苏南通的服务器地址,揭穿了这场冒充香港金融机构的骗局,但真正令其原...
sngie4天前7.50K#HKDR
紧急!Freedom资金盘进入崩盘倒计时,这些征兆要警惕!
预警!Freedom资金盘已进入收割倒计时,崩盘前的种种征兆已然显现,无数投资者的血汗钱岌岌可危!今天,就为大家...
sngie4天前6.39K#Freedom
揭秘MIMI Coin资金盘骗局:华丽包装下的财富陷阱
最近,不少读者向我打听一个叫“MIMI Coin”的项目,问这是不是值得抓住的“投资新机遇”。今天,我就带大家深入...
sngie7天前5.65K#MIMI Coin
中铂云商易购是资金盘骗局,警惕非法集资,看见远离
有粉丝请求震哥讲解中铂云商易购这个项目。此项目包装得较为高端大气,一看便是由有经验的人在进行操作。刚刚...
佚名7天前1.04w#中铂云商易购
高度预警:“启元彩票”资金盘,大量会员被单割,开盘半年多,操盘手老王圈钱过亿
近期不少受害者联系昊天说被一个叫启元彩票的彩票带单类资金盘骗局割了,此盘也是开盘了半年多了,群里彩票带...
昊天8天前1.00w#启元彩票
警惕!CERES(克瑞斯)杠杆挖矿骗局,正在疯狂“收割”!
一场披着Web3华丽外衣的精准“收割”游戏正在上演,CERES(克瑞斯)杠杆挖矿骗局让无数投资者陷入困境,大家务必...
零撸!蚁链量化正式上线,扶持100U、抓紧上车
蚁链量化首码,今日上线,扶持100U扶持金,无限代扶持。都是百分之二十收益,认证要手持,,每天收益0.6U,满10...
jcehXFqe8天前5.77K
从“极致安全垫”到血本无归:透视霖达通(Limdex)海外注册与代币陷阱
近年来,随着人工智能(AI)和加密货币概念的火热,一些不法分子也开始利用这些前沿科技词汇包装传统骗局,以极...
